Springe auf Hauptinhalt Springe auf Hauptmenü Springe auf SiteSearch
Kühlung für Kino-Filmprojektoren

Heiße Filme gut gekühlt

Machen wir also einen kleinen Abstecher in die Geschichte der Vorführtechnik und schauen uns an, an welchen zum Teil ungewöhnlichen Orten Klimatechnik benötigt wird, um uns einen reibungslosen Alltag zu gewährleisten. Der Traum vom bewegten Bild ist alt, sehr alt, er beginnt mit der Erfindung der tragbaren Laterna Magica 1652, doch es brauchte noch sehr lange, bis die Bilder wirklich laufen lernten. Das Ende des 19. Jahrhunderts, nämlich der 28. Dezember 1895, als die Brüder Lumière die erste öffentliche Filmvorführung mit ihrem Cinematographen, der genau die Funktionen von Kamera und Projektion vereinte, gilt als die Geburtsstunde des Films. Da Sie aber keinen Artikel über Filmgeschichte, sondern über Kältetechnik lesen wollen, machen wir nun einen großen Satz in die jüngere Geschichte.

Zunächst einmal müssen wir uns jedoch kurz der Technik eines Filmprojektors widmen. Der abzuspielende Film wird über mehrere Rollen und Zahnrollen durch den sogenannten Filmkanal geführt. Läuft alles reibungslos, wird der Film ohne Verzögerungen an der lichtstarken Projektionslampe vorbeigeführt der Film läuft. Jedes Haken und Zögern war bis in die 50er-Jahre hinein nicht nur brand-, sondern sogar explosionsgefährlich. Die damals noch gebräuchlichen Zelluloidfilme verfügten aufgrund ihrer Beschaffenheit aus Nitrozellulose mit Schwefel- und Salpetersäure aus Baumwollresten über eine höhere Sprengkraft als Schwarzpulver. Seit 1951 wurde deshalb nur noch der sogenannte Sicherheitsfilm verwendet.

Seit den 1980er-Jahren kam mehr und mehr Polyesterfilm zum Einsatz. Doch auch dieser ist nicht hitzeresistent. Bei einer Strahlungswärme von 5 kW bis zu 10 kW Lampenleistung kann sich der Film trotz Luftkühlung auf bis zu 65 °C erwärmen. In der Folge wellt und verformt er sich, der Bildfokus wird unscharf und das Bild verliert an Brillanz. Nach mehreren Filmvorführungen führt die thermische Belastung des Films an der Filmbühne häufig zu Filmrissen.

Kühlung des Vorführraums zu ineffizient

Um die Temperatur des Films beziehungsweise des Bildfensters zu verringern und die Kühlung durch Luftzirkulation zu optimieren, wurde zunächst versucht, den Raum, in dem sich der Projektor befindet, durch eine Klimaanlage zu kühlen. Dieses Verfahren erwies sich jedoch als nicht effizient, da zum einen die Klima­tisierung eines gesamten Raumes mit hohen Investitions- und Betriebskosten ­verbunden ist, zum anderen ein Erniedrigen der Filmtemperatur nur um wenige Grade möglich war.

Ein weiterer Ansatz sah vor, die Projektoren mit einer Kühlwasserschleife auszurüsten, durch die permanent Leitungswasser zur Kühlung des Bildfensters geleitet wurde. Die Nachteile dieses Verfahrenslagen je­doch im extrem hohen Trinkwasserverbrauch und den damit verbundenen Betriebskosten. Ein weiterer Nachteil bestand darin, dass man mit dieser Technik keine konstanten Temperaturen erreichen konnte. Mittlerweile ist diese Technik aufgrund von Umweltschutzüberlegungen in vielen Ländern der Welt verboten.

Mitte der 1990er-Jahre thematisierte der Leiter der Kinotechnik des Cinedoms in Köln, eines der größten Multiplexkinos der Bundesrepublik, das Problem, dass sich das Bildfenster des Projektors aufgrund der Strahlungswärme extrem aufheizt, mit dem Kältefachbetrieb, der für die Installation, Wartung und Reparatur der Klima- und Kälteanlagen im Gebäude zuständig war. Somit war zum ersten Mal eine Konstellation geschaffen worden, wo ein Kältefachbetrieb, die CliTech Wärmetauscher und Apparatebau, vor Ort in einem Kino Möglichkeiten zur Kühlung von Kinoprojektoren austesten konnte.

Kühllösung per Zweikreis-Wärme­übertrager mit Sole- und Kältemittelkreis

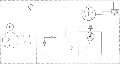
Es wurde zunächst ein Zweikreis-Wärmeübertrager mit einem Sole- und Kältemittelkreis entwickelt, wobei einerseits die hohen Temperaturen des Wassers durch die Kältemaschine eliminiert werden ­mussten. Zudem galt der Anspruch, dass das Gerät aufgrund der räumlichen Enge im Projektionsraum nur geringen Platz­bedarf beanspruchen durfte und ein hohes Maß an Benutzerfreundlichkeit aufweisen musste.

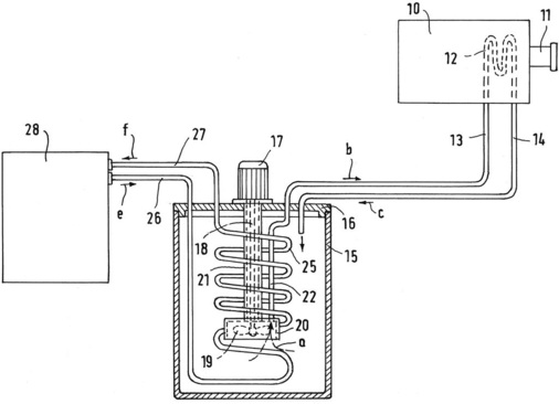
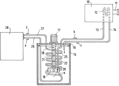
Bei der Kühlvorrichtung wurde eine in einem Filmprojektor angeordnete Kühlschleife über eine Vor- und eine Rücklaufleitung mit einem Kühlsolereservoir verbunden. Eine Pumpe im Flüssigkeits­reservoir befördert die Kühlsole über die Zuführleitung zu der Kühlschleife und von dieser über die Rücklaufleitung zurück in das Flüssigkeitsreservoir. Im Flüssigkeitsreservoir befindet sich zudem ein Wärmeübertrager, der mit einer Kältemaschine verbunden ist. Mittels der Kältemaschine wird die in dem Flüssigkeitsreservoir vorhandene Sole auf eine Temperatur von 16 °C bis maximal 20 °C Grad gekühlt. Da die zur Kühlung des Filmprojektors aus dem Flüssigkeitsreservoir gepumpte Kühlsole wieder in das Flüssigkeitsreservoir zurückgeführt wird, ist die zur Kühlung des Filmprojektors erforderliche Flüssigkeitsmenge erheblich reduziert. Mithilfe dieser Erfindung konnte die Temperatur des Films ohne Weiteres auf 40 °C gesenkt ­werden. Bei dieser Temperatur treten im projizierten Bild keine Unschärfen mehr auf und die Gefahr des Filmrisses ist er­heblich verringert. Die Beanspruchung des Films während einer Vorführung ist daher erheblich geringer, zumal die Temperatur mit dieser Art der Kühlung konstant bleibt.

Geschlossener Kühlkreislauf

Vorzugsweise ist das Kühlsolereservoir gegenüber der Umgebung nahezu hermetisch abgeschlossen, sodass der Kühlkreislauf zur Kühlung des Projektors in sich geschlossen ist. Somit kann beinahe keine Flüssigkeit verdampfen und es können keine Keime eingetragen werden. Ein Nachfüllen von Kühlsole ist somit nahezu nicht erforderlich. Die Regelung der Kühlsoletemperatur wird mittels eines Temperatursensors und einer entsprechenden Elektronik geregelt und bedarf keiner manuellen Einstellung.

Aus dieser ersten Testphase entwickelte sich ein serienreifes Produkt, in dem mittlerweile alle Komponenten, sowohl der Kältemittel- als auch der Solekreis und auch der Entspannungsbehälter in einem Edelstahlgehäuse untergebracht sind und nach Einstecken in die Steckdose mit nur einem Schalter bedient werden kann. Nach Abschluss aller Testreihen im Sommer 1998 wurde es als Gebrauchsmusterschutz beim Patentamt eingetragen. Aus zunächst bescheidenen Anfängen hat sich eine Serienproduktion entwickelt, sodass diese Geräte mittlerweile weltweit vertrieben werden und sich fast in allen Kinos der Welt mit konventioneller Projektortechnik wiederfinden.

Dennoch scheint ein Ende der Produktion in näherer oder fernerer Zukunft absehbar, denn immer mehr Kinos stellen auf Digitaltechnik um. Zwar geht die Entwicklung in Deutschland langsamer voran als beispielsweise in den USA oder Indien, da hierzulande noch großteils Filmprojektoren zum Einsatz kommen. Dennoch ist der überwiegendende Teil der neu verkauften Kinoausstattungen digital, und zehntausende Kinos weltweit wechseln ihre alten mechanischen Projektoren gegen moderne Digital-Projektoren aus. Vorreiter der Umstellung sind die großen Kinoketten. Es bleibt aber abzuwarten, welche Anforderungen an Kühlung und Klimatisierung diese neue Technik noch stellen wird und was den Tüftlern aus Köln dann noch einfallen wird. -

Nicola Wagner

Agentur Jenseits des Mainstreams, Köln-Pulheim

Nicola Wagner, Köln-Pulheim

Jetzt weiterlesen und profitieren.

+ KK E-Paper-Ausgabe – jeden Monat neu
+ Kostenfreien Zugang zu unserem Online-Archiv
+ Fokus KK: Sonderhefte (PDF)
+ Webinare und Veranstaltungen mit Rabatten
uvm.

Premium Mitgliedschaft

2 Monate kostenlos testen