Springe auf Hauptinhalt Springe auf Hauptmenü Springe auf SiteSearch
RLT-Anlage für direkte freie und adiabate Kühlung

Energetisch optimiert

Die sich aus dieser Anlagenkonzeption ergebenden Toleranzen im Temperatur- und Feuchtebereich stellen laut Her-stellerangaben für die vor Ort installier-ten Server kein Problem dar. Auch auf- grund erhöhter thermischer Lasten wurde die neue RLT-Anlage so geplant, dass ganzjährig die Zuluft mit einer Temperatur von ca. 16 °C in den Zwischenboden eingebracht wird. Die Temperatur am Ausgang der Zuluftaufbereitung beträgt mindestens 15 °C. Das geringe t von 1 K ergibt sich aus dem Transmissionswärmeverlust über den Zuluftkanal. Der bisherige Serverraum wurde so umgebaut, dass sich dieser jetzt als Maschinenraum mit integrierter RLT-Anlage und Filterwand nutzen lässt, woraus sich auch der Vorteil einer kurzen Kanalstrecke mit geringem luftseitigem Druckverlust ergibt.

Der Altbestand

Die bisherige Umluftkühlanlage mit externer Raumbefeuchtung war so geregelt, dass die Luftbefeuchtungsanlage auch während des Kühlbetriebs in Betrieb war. Aufgrund der relativen niedrigen Verdampfungstemperatur war die Entfeuchtungsleistung der Klimageräte relativ hoch, sodass ein erheblicher Anteil der Gesamtkühlleistung für den latenten Bereich benötigt wurde, was aus energetischer Sicht unsinnig ist.

Direkte freie Kühlung mit WMS Kontaktbefeuchter

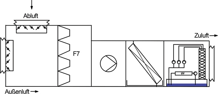
Der Aufbau eines RLT-Gerätes ist aus Bild 1 ersichtlich. Zur Reduzierung des luftseitigen Druckverlustes wurde für die F7-Filterung ein größeres Gerätebauteil mit entsprechender Mischkammer vorgesehen. Auf eine zweite Filterstufe konnte verzichtet werden, da für die Luftförderung ein Radialventilator mit freilaufendem Rad, rückwärts- gekrümmten Schaufeln und EC-Motor zum Einsatz kam, der mittels Drucksensor und Frequenzumformer auf einen konstanten Volumenstrom geregelt wird.

Die Durchtrittsgeschwindigkeit im freien Querschnitt des RLT-Gerätes beträgt 1,3 m/s. Der Kühler ist (auch zur Reduzierung des Druckverlustes) diagonal eingebaut. Tropfenabscheider für den Kontaktbefeuchter WMS und den Kühler sind aufgrund der niedrigen Luftgeschwindigkeit nicht erforderlich. Erwärmt wird die Zuluft auf den erforderlichen Sollzustand durch Beimischung der warmen Abluft zur Außenluft, wodurch ein zusätzlicher Erwärmer entfällt. Der Überdruck im Raum wird durch einen Drucksensor erfasst und einem Regler mit Frequenzumformer zugeführt, der auf den Fortluftventilator wirkt. In Abhängigkeit des eingestellten Sollwertes wird der gewünschte Überdruck im Raum aufrechterhalten.

Temperatur- und Feuchteregelung

Für die Feuchte- und Temperaturregelung ist im Zuluftkanal ein Kombifühler als Istwertgeber integriert. Der Temperaturtransmitter erfasst den Istwert, der mit dem eingestellten Sollwert des PI-Reglers 16 °C permanent verglichen wird. In Abhängigkeit von Soll- und Istwert werden die Mischklappen des RLT-Gerätes verstellt, bis dass der Temperatursollwert im Zuluftkanal erreicht ist. Im Entfeuchtungs- und Kühlmodus ist der Wirksinn für die Jalousieklappen umgekehrt, sodass die Luft im Umluftbetrieb gekühlt und entfeuchtet wird. Die Feuchteregelung erfolgt über das Wertepaar Temperatur und relative Feuchte, woraus die absolute Feuchte resultiert. Die Absolutfeuchteregelung wird auf den Sollwert ca. 6,2 g/kg trockene Luft eingestellt. In Abhängigkeit der Differenz zwischen eingestelltem Soll- und Istwert, wirkt der PI-Regler auf die Leistungsregelung des Kontaktbefeuchters WMS.

Aus beiden h, x-Diagrammen ( Bild 2 und Bild 3) ist zu ersehen, dass die adiabate Befeuchtung bzw. Kühlung parallel zu den Isenthalpen verläuft, beispielsweise annähernd 30 kJ/kg. Auch bei höheren Außentemperaturen und geringer rel. Feuchte ist ein Betrieb mit freier Kühlung und adiabater Befeuchtung noch möglich. Entscheidend hierfür ist, dass die Enthalpie der Außenluft kleiner ist als die annähernd eingezeichneten 30 kJ/kg. Der prozentuale Außenluftanteil zum Abluftanteil ist immer abhängig von dessen Temperatur, vorausgesetzt, dass die inneren Lasten und der Volumenstrom gleich bleiben.

Die Leistungsregelung des WMS Kontaktbefeuchters

In Abhängigkeit des Signalausgangs, z. B. 0 ... 10 VDC, wird die Leistung des Kontaktbefeuchterers geregelt. Das Analogsignal wird in maximal sieben Stufen umgesetzt, sodass die Leistung optimal dem Sollwert angepasst wird. Für Nachrüstungen in bestehende RLT-Anlagen kann auch die integrierte PID-Regelung Vapor-Logic“ genutzt werden. Ein direkter Anschluss von zwei Feuchtetransmittern ist möglich. Zusätzlich sind vor und nach den Verdunstungskörpern, in Abhängigkeit der Leistungsgruppen, Temperaturtransmitter zur Überwachung des Gerätewirkungsgrades installiert.

Mittels LAN-Schnittstelle ist eine direkte Einbindung in ein Netzwerk möglich. Alle relevanten Daten können über die Maske mittels Webbrowser geändert und ausgelesen werden. Schnittstellen für Modbus und BACnet sowie potenzialfreie Kontakte sind standardmäßig vorhanden.

Das Hygienekonzept

Ein wichtiger Bestandteil der Vapor-Logic ist die Hygienesteuerung mit UV-Reaktor und automatischer Absalzeinheit. Für die Hygienesteuerung des WMS ist eine separate

Pumpe in der Wanne integriert, die ausschließlich das Wasser über einen UV-Reaktor zur Entkeimung im Kreislauf führt. Das Wasser zirkuliert permanent. In Abhängigkeit des elektrischen Leitwerts des Wassers und der Verdunstungsmenge wird der Zyklus für die Mineralsalzkonzentration des Wassers errechnet.

Fazit

Für den Betreiber der neu installierten Anlage ergeben sich folgende Vorteile:

Niedrige Betriebskosten durch Nutzung der freien Kühlung und Abwärme der Server in Kombination mit dem adiabaten Kontaktbefeuchtungssystem WMS.

Hygienische Betriebsweise des Kontaktbefeuchters WMS durch Einsatz der Vapor-Logic mit UV-Reaktor und Hygienekonzept.

In Abhängigkeit des elektrischen Leitwerts des Wassers und der Verdunstungsmenge wird die Wassermenge zur Absalzung berechnet und das Motorventil zur Dekonzentration angesteuert.

Michael Wilcke,

Abteilungsleiter Luftbefeuchtung, Alfred Kaut GmbH & Co., Wuppertal

Jetzt weiterlesen und profitieren.

+ KK E-Paper-Ausgabe – jeden Monat neu
+ Kostenfreien Zugang zu unserem Online-Archiv
+ Fokus KK: Sonderhefte (PDF)
+ Webinare und Veranstaltungen mit Rabatten
uvm.

Premium Mitgliedschaft

2 Monate kostenlos testen